Junghans Stoßsicherungen

Armbanduhren von Junghans wurden über die Jahrzehnte mit den unterschiedlichsten Stoßsicherungen ausgestattet - von der Stoßsicherung für die empfindlichen Zapfen der Unruh, bis zu den gesamten Werken im Gehäuse.

Junghans Stoßsicherungen für das Werk im Gehäuse

Patent-Wasserdichtes-Armbanduhrghäuse-Stoßsicherung-CH000000531739-1.jpg

Wasserdichtes Armbanduhrghäuse Stoßsicherung Patent Nr.: CH000000531739

Patent-Wasserdichtes-Armbanduhrghäuse-Stoßsicherung-CH000000531739-2.jpg

Wasserdichtes Armbanduhrghäuse Stoßsicherung Patent Nr.: CH000000531739

Patent-Wasserdichtes-Armbanduhrghäuse-Stoßsicherung-CH000000531739-3.jpg

Wasserdichtes Armbanduhrghäuse Stoßsicherung Patent Nr.: CH000000531739

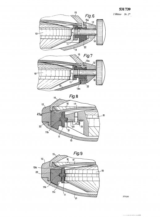
Patent-Wasserdichtes-Armbanduhrghäuse-Stoßsicherung-CH000000531739-4.jpg

Wasserdichtes Armbanduhrghäuse Stoßsicherung Patent Nr.: CH000000531739

Hier ein Patent, das am 18. März 1965 angemeldet und schließlich 1972 erteilt wurde. Der beschriebene Gummiring ist gleichzeitg Wasserdichtung als auch Stoßsicherung.

Der Dichtungs- und Stoßsicherungsring im Werk

Junghans-623.20-004.png

Junghans 623.20

Junghans-623.20-003.png

Junghans 623.20

Junghans Unruh-Stoßsicherungen

Junghans-Stoßsicherung-Unruh-1951-002.jpg

Unruh-Stoßsicherung Junghans I und II 1951

Junghans-Stoßsicherung-Unruh-1951-003.jpg

Unruh-Stoßsicherung Junghans I und II 1951

Junghans-Stoßsicherung-Unruh-1951-004.jpg

Unruh-Stoßsicherung Junghans I und II 1951

Junghans-Stoßsicherung-Unruh-1951-001.jpg

Unruh-Stoßsicherung Junghans I und II 1951

Junghans-I-und-II-Stoßsicherung-1951-1.jpg

Patent Unruhstoßsicherung Junghans II USA 2721443

Junghans-I-und-II-Stoßsicherung-1951-2.jpg

Patent Unruhstoßsicherung Junghans II USA 2721443

Junghans-I-und-II-Stoßsicherung-1951-3.jpg

Patent Unruhstoßsicherung Junghans II USA 2721443

Am 05. September 1951 meldet Junghans das Patent zur Stoßsicherung der Unruhzapfen in den USA an und bewirbt diese am 10. September 1951 bereits in Deutschland mit dem Hinweis der Patentanmeldung. Die Patenterteilung findet in den USA 1955 statt.